Kunststoffservice Wolfgang Bessen

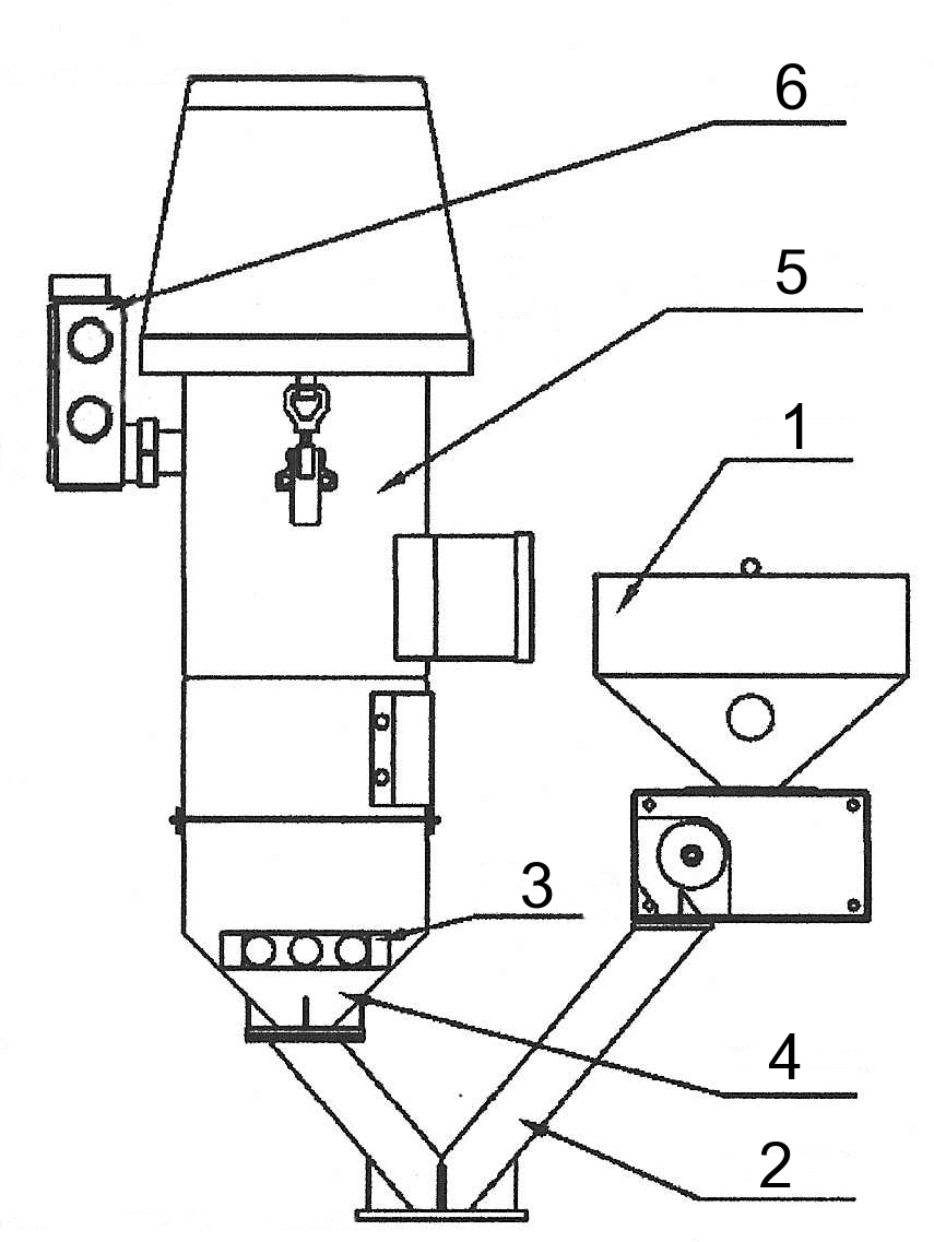
Aufbaumöglichkeit mit Gestell:

1. Dosiergerät DFT4

2. Gestell STB

3. Trichtermagnet

4. Zwischentrichter

5. Saugfördergerät

6. Mischweiche

Mit diesem Gestell, wir liefern 2 Ausführungen als Standard, erfolgt die Zumischung idealerweise direkt über dem Einzugsbereich der Schnecke.

Der Zwischentrichter aus Edelstahl dient als Adapter zwischen dem Gestell und dem Saugförderer. Sie können vorhandene Geräte einsetzen oder von uns ein passendes Gerät beziehen.

Der Trichtermagnet ist nicht zwingend erforderlich aber empfehlenswert. Auch die Mischweiche dient lediglich als Illustration der vielfältigen Möglichkeiten. Sie können vorhandene Geräte einsetzen oder von uns preiswert beziehen.

Informationen über unsere Geräte erhalten Sie durch Anklicken der o.g. Positionsbezeichnungen.