| Kunststoffservice Wolfgang Bessen |
|
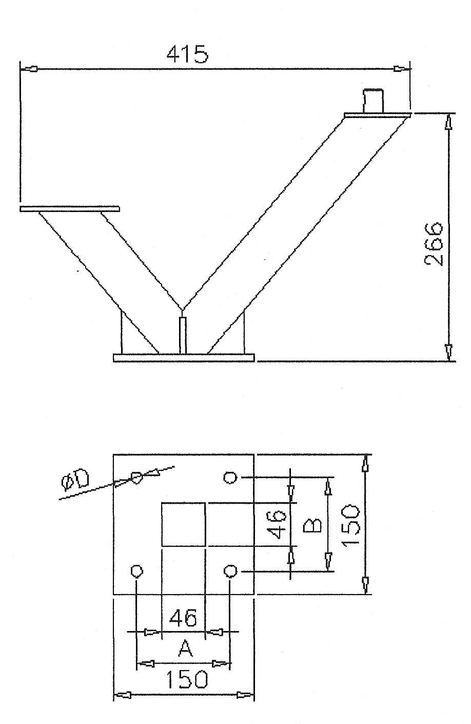
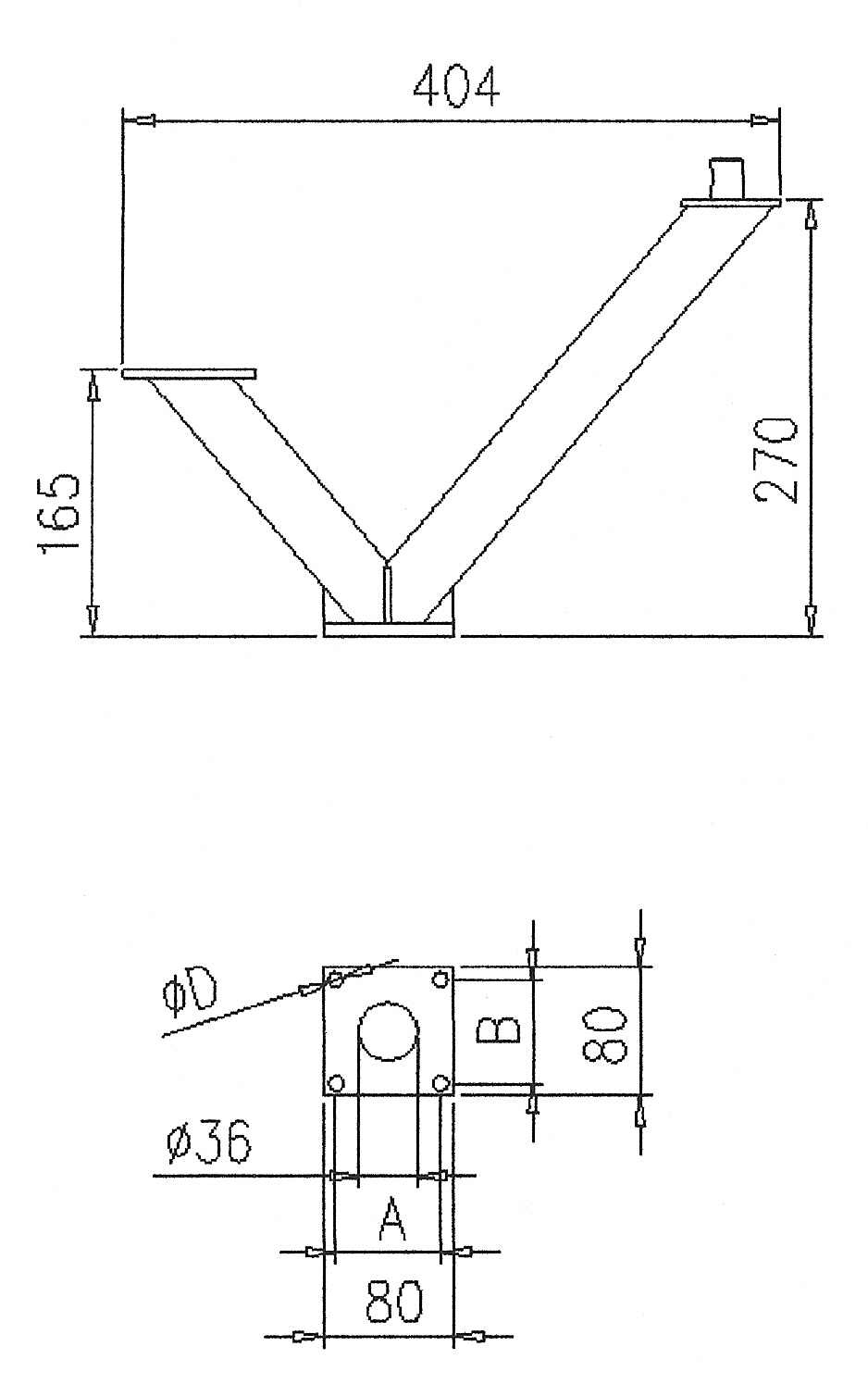
Gestell für DFT4 und Saugförderer
komplett mit Schwenkkonsole zur Kalibrierung oder Entleerung des DFT 4
Modell STB40 |
Modell STB50 |
![]() |
![]() |
Nennen Sie uns die Maße A, B und D, dann liefern wir Ihnen ein Gestell passend für Ihre Spritzgußmaschine oder Extruder.
Andere Maße sind auf Wunsch möglich
alle Maße in mm; Irrtum und Änderungen vorbehalten