Kunststoffservice Wolfgang Bessen

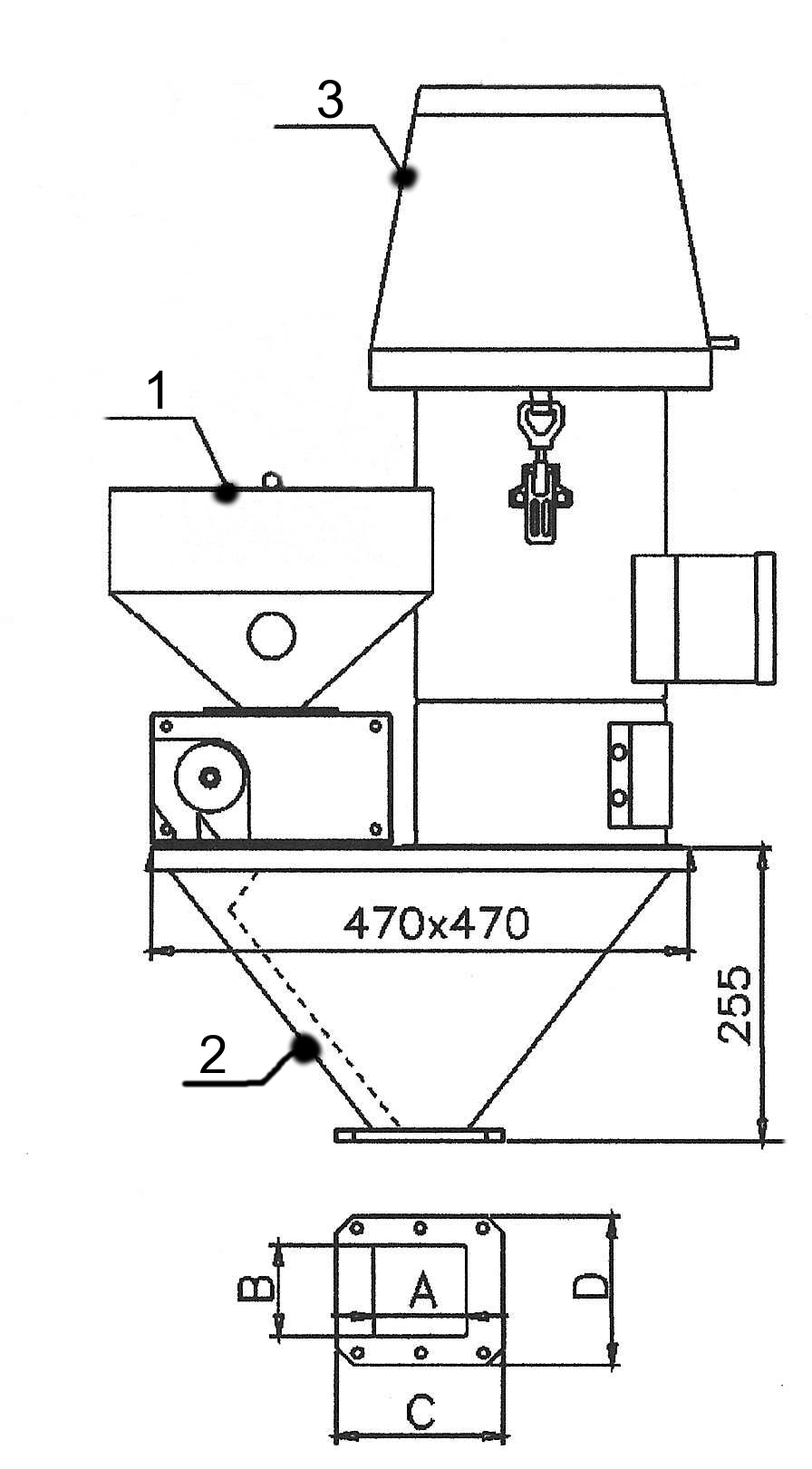
Aufbaumöglichkeit mit neuem Maschinentrichter:

1. Dosiergerät DFT4

2. Trichter

3. Saugfördergerät

Nennen Sie uns die Maße A, B, C und D von Ihrem Flansch am Einzugsbereich der Schnecke und wir liefern Ihnen gegen geringen Aufpreis mit dem Dosiergerät einen passenden Edelstahltrichter mit eingearbeitetem Zuführschacht, damit die Zumischung idealerweise direkt über dem Einzugsbereich der Schnecke erfolgt.

In dem Trichterdeckel sind die Öffnungen für das Dosiergerät und das Fördergerät bereits vorhanden. Informationen über den Trichter finden Sie hier.

Ein Fördergerät ist nicht zwingend erforderlich aber empfehlenswert. Sie können vorhandene Geräte einsetzen (dann benötigen wir die Anschlußmaße für die Öffnung im Trichterdeckel) oder von uns ein passendes Gerät beziehen. Informationen über unsere Geräte erhalten Sie hier.

alle Maße in mm; Irrtum und Änderungen vorbehalten