Kunststoffservice Wolfgang Bessen

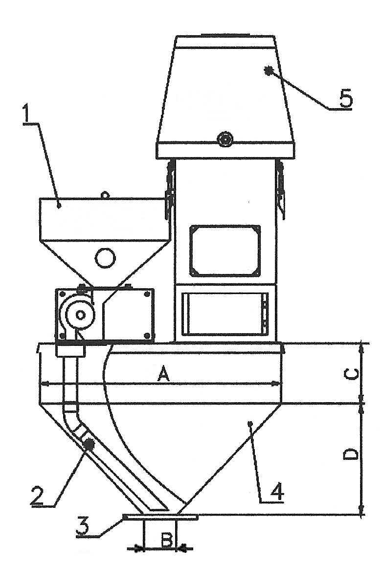
Aufbaumöglichkeit mit vorhandenem Maschinentrichter:

1. Dosiergerät DFT4

2. Kupferfallrohr

3. Trichterflansch

4. Trichter

5. Saugfördergerät

Nennen Sie uns die Maße A, B, C und D von Ihrem vorhandenen Maschinentrichter und wir liefern Ihnen gegen geringen Aufpreis mit dem Dosiergerät ein passendes Kupferrohr, damit die Zumischung idealerweise direkt über dem Einzugsbereich der Schnecke erfolgt.

Sie müssen dann lediglich an Ihrem Trichterdeckel die Öffnungen für das Dosiergerät und das Fördergerät anbringen.

Ein Fördergerät ist nicht zwingend erforderlich aber empfehlenswert. Sie können vorhandene Geräte einsetzen oder von uns ein passendes Gerät beziehen. Informationen über unsere Geräte erhalten Sie hier.